
微成都报道2月25日晚间,德龙汇能(000593.SZ)发布公告称,公司原控股股东北京顶信瑞通科技发展有限公司(以下简称“顶信瑞通”)协议转让公司股份事项完成过户。

公告显示,诺信芯材新晋成为德龙汇能控股股东,持股比例为29.64%,公司实际控制人变更为孙维佳。
据悉,顶信瑞通与诺信芯材于2025年10月28日签订《股份转让协议》,顶信瑞通拟以9.41元/股的价格,向诺信芯材转让德龙汇能约1.06亿股无限售流通股,占公司总股本的29.64%,交易总价款为10亿元。
截至今日收盘,德龙汇能报15.74元/股,涨9.99%,市值为56.45亿元。

微成都注意到,豪掷10亿元的诺信芯材成立于2025年7月24日,距今仅半年时间。公告显示,诺信芯材经营范围为企业管理;企业管理咨询;供应链管理服务(除依法须经批准的项目外,凭营业执照依法自主开展经营活动)。
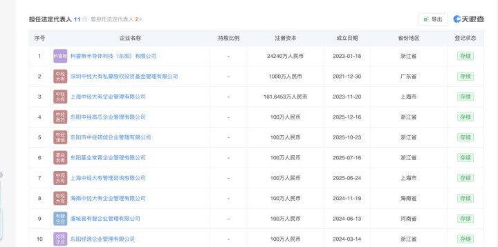
此外,诺信芯材最终实控人孙维佳在11家公司担任法定代表人,还是科睿斯半导体科技(东阳)有限公司(下称“科睿斯”)的董事长。

图据天眼查
据东阳发布,孙维佳曾介绍,科睿斯成立于2023年,公司致力于高端封装载板的研发、设计、制造、销售和技术服务,产品主要应用于CPU、GPU、AI及车载等高算力芯片的封装。

图据东阳发布
据证券时报,2025年9月,科睿斯FCBGA封装基板项目(一期)正式进入投产阶段,为破解国内高端封装基板“一板难求”的困境迈出关键一步。此前,上市公司中天精装(002989.SZ)公告间接持有科睿斯的27.99%股权。
中天精装2025年半年报显示,2025年上半年,公司锚定战略转型方向,通过对外投资参股半导体产业链细分领域优质标的企业,以应用场景为牵引,布局半导体ABF载板(间接参股科睿斯)、先进封装(间接参股合肥鑫丰科技有限公司)、HBM设计制造(间接参股深圳远见智存科技有限公司)等环节,以期形成与控股子公司的相互协同和业务相互赋能。
(本文不构成投资建议,据此操作风险自担)
配资指数平台提示:文章来自网络,不代表本站观点。